From the first days of the coronavirus outbreak in the United States, hospitals and elected officials began scrambling to amass ventilators.
So long as we had enough of the devices, the idea went, people’s lives would be saved. “It’s all about the ventilators,” Gov. Andrew Cuomo of New York said in a March 18 press briefing, adding that the state could need 37,000 ventilators at the peak of the outbreak, compared with an existing capacity of 3,000.
Yet as the death toll has continued to rise in New York, where I live, it’s become increasingly clear that these devices often cannot stop someone with the virus from dying, once the disease takes a fatal turn. “The longer you’re on a ventilator, the less likely you will come off the ventilator,” Cuomo acknowledged last week.
Few people infected with the coronavirus will need a ventilator. For those who do, ventilators can certainly be life-saving. Patients have successfully come off ventilators, and outcomes would be even worse if hospitals didn’t have the devices at all. But they are not going to be a cure.
The conversations I’ve had over the past two weeks with front-line doctors, nurses and researchers about treating critically ill patients reminded me that this virus is called the novel coronavirus for a reason — humanity has only gotten to know it for a handful of months, and it’s naive to think that we’d already know how to best treat the disease. Ventilators are just part of the picture, and doctors are continuing to learn as they go how to best use the devices, and when to use them, along with other medications and therapies.
First, let’s talk about how lungs work.
When you breathe in, the air travels down your windpipe and into the two bronchi that split into the left and right lungs. The bronchi divide into smaller and smaller branches that end in tiny clusters of air sacs, or alveoli, whose walls are thinner than tissue paper. The air sacs are wrapped in tiny capillaries, which carry blood cells that are waiting for oxygen. As the alveoli inflate, they press up against the capillaries, and oxygen transfers into the bloodstream.
When a doctor says that a patient has pneumonia — from whatever cause, be it the flu or COVID-19 — that means that the lungs are infected and inflamed. The air sacs can start filling up with pus or fluid, becoming clogged, so they can no longer transfer oxygen to the capillaries. “The less surface area you have in your lungs, the less well oxygenated you’ll be,” explained Erin Cashier, an ICU nurse at Eden Medical Center in Castro Valley, California.
A more serious condition that’s being seen in the sickest of COVID-19 patients is called Acute Respiratory Distress Syndrome (ARDS). This condition also isn’t exclusive to the coronavirus — it can happen when someone’s lungs have been badly injured, which could include events like near-drowning and inhalation of harmful chemicals, as well as during a severe pneumonia. When patients develop ARDS, fluid builds up in the air sacs and oxygen levels plummet. A healthy lung’s air sacs are normally coated with surfactant, a slippery substance that helps the sacs inflate and deflate with ease. In ARDS, the surfactant breaks down, making the lungs stiffer. Inflammation makes things worse by increasing the gap between the air sacs and the web of capillaries around them, so that oxygen can’t jump over to feed the bloodstream.
Doctors have a variety of tools to help patients who are having trouble breathing. Ventilators are a last resort.
The most gentle tool is a nasal cannula, which is a tube with two prongs that is placed on a patient’s nostrils. You’ve probably seen that on TV shows. While it can give a patient a higher concentration of oxygen than what’s available in the air, it’s still up to the patient to breathe on his or her own.
If a patient needs more help, doctors can move up to what’s called a non-rebreather mask, which still requires a patient to be able to breathe unassisted but can deliver much higher concentrations of oxygen — up to 100%.
But oxygen concentration isn’t the only thing that doctors have to consider. Sometimes the small branches of the lungs that lead into the air sacs can collapse under the weight of the fluid building up around them, and then even the highest concentrations of oxygen can’t get in. Medical staff then think about increasing the pressure of the air the patient is breathing in. The high-pressure air helps to “prop open” these small airways to allow oxygen and carbon dioxide to flow more freely.
Before this pandemic, doctors would often turn to a device called a BiPAP machine. It’s a noninvasive device that delivers pressurized air to a patient via a mask. The problem during the coronavirus pandemic has been that BiPAP masks are leaky, so virus particles could escape and put health care workers at risk of infection.
So instead, now, when a patient’s oxygen levels keep falling, physicians turn to a ventilator.
Here’s how ventilators work.
Patients are put to sleep with sedatives and pain relieving medications before a breathing tube is inserted. The medications are also continued after intubation, so patients won’t feel any discomfort or fight the breathing tube.
Once the tube is in place, a small inflatable cuff is puffed up around it, inside the windpipe, forming a seal that’s intended to prevent viral particles from getting out. Then, the ventilator machine is turned on and starts to push air through the tube, in and out of the patient’s lungs.
Using a ventilator gives a medical team many more options for how to manage a patient’s breathing. Oxygen levels and pressure can be dialed up or down. The team can also control the number of breaths per minute and the size of those breaths. Taking smaller breaths rather than deep gasping breaths can help protect damaged lungs, explained Dr. Edy Kim, a pulmonary and critical care specialist at Brigham and Women’s Hospital in Boston.
COVID-19 behaves differently than other respiratory diseases. Doctors are being caught off guard.
ARDS looks different in COVID-19 patients, according to a doctor at a Long Island hospital that’s now treated more than 1,700 COVID-19 patients. The doctor, who asked to speak anonymously because he’s not authorized to speak on behalf of his facility, described typical ARDS as a “flash flood,” in which a patient could crash over 12 hours, going from having a little difficulty breathing to going on a ventilator. But from what he’s seen, “it’s not like a flash flood.” In COVID-19 patients, ARDS often behaves “like a slow storm, where the waters keep rising and rising.”
Read More
Kim said that he’s been surprised to see how long patients stay on ventilators. Typically, he said, influenza patients stay on a ventilator for less than two weeks — that’s the point at which they’d transition a patient from the breathing tube to a tracheostomy tube, a hollow tube placed in the neck, which provides a more permanent connection to a ventilator. Many of the COVID-19 patients he’s seen have been on a ventilator for more than two weeks.
What’s more, “in a normal situation, when we take the tube out, maybe one out of 10 has to have the tube put back in,” Kim said. “Right now, in all of the centers, we’re talking about up to a third having to have the tube put back in after a day or so, and unfortunately, those people have quite high death rates.” He noted that these numbers are preliminary, and so estimations of how many patients need to be reintubated may change as time goes by.
Doctors disagree on how to best treat patients with COVID-19.
Many hospitals are now recommending patients “prone,” or lie on their stomachs, because there’s more surface area on the backside of the lungs, so when any fluid is shifted toward the patient’s front, that can increase surface area for oxygen to reach.
The Long Island doctor told me he thinks proning is very helpful. “You’ll get called for a rapid response and we’ll all walk into the room and say, ‘Put them on the belly!’ and they do, and magically their oxygen will be in the 90s, 95.” At his hospital, they ask patients who aren’t yet in the ICU to try and stay on their bellies for 16 hours a day.
Kim said the difficulty is getting patients to comply, because most people don’t like lying on their belly for that many hours of the day. He added, the question will be, “It helps their oxygen levels, but does it help their ultimate outcome?” What Kim means is that it’s not clear yet that temporarily improving someone’s oxygen saturation via proning will make a difference to their survival.
There are also discussions about how to best utilize ventilators. Some doctors think ventilators are being overused, while others suggest adjustments as to how they are used, such as changing settings to use the lowest possible pressure, Stat reported last week.
Many hospitals initially said they were planning to let two or more patients share a ventilator if necessary, seeing it as a life-saving measure when resources were scant; by April, most New York City institutions said they were cutting back on the practice because it appeared to endanger patients.
As I talked to medical staff working in COVID-19 wards, the impression I got was that everyone was trying their very best to do the right thing by their patients, but there just wasn’t enough data yet to know for certain what the best protocol might be.
“It’s hard to do rigorous science this quickly/intensely,” Cashier, the ICU nurse in Castro Valley, lamented to me over email.
Medical teams around the world are in conversation, trying to share information. Kim is also the senior editor of Brigham and Women’s Hospital’s COVID-19 care guidelines, which the hospital has posted online to share with others around the world.
There’s not a lot of data on ventilator survival rates yet, but here’s what the available studies show.
One study, published in the journal Lancet Respiratory Medicine, tracked 52 critically ill patients at a single hospital in Wuhan, China. Thirty-seven needed mechanical ventilation, the authors reported. After 28 days, 30 of those 37 patients had died, and three remained on ventilators.
Another large study, published in the journal JAMA, tracked 1,591 critically ill patients admitted to the ICU in the Lombardy region of Italy. Not all of the patients had complete data available, but out of 1,300 with information on respiratory support, 88% received mechanical ventilation and 11% received noninvasive ventilation. The researchers didn’t break out mortality rates by therapy. At the time they published, 26% had died, 16% had been discharged and 58% were still in the ICU.
Here in the U.S., there’s been less data so far. However, a small study from the Seattle region was published in The New England Journal of Medicine on March 30. Doctors tracked 24 patients admitted to intensive care units across nine Seattle-area hospitals. Three quarters were put on a ventilator. At the time the paper was published, half the patients had died, which included four patients who had a do-not-resuscitate order on admission. Of the 12 surviving patients, five had been discharged home, four had left the ICU but remained in the hospital and three continued to be on ventilators in the ICU.
“Of the patients who were extubated, the age range was 23 to 88 years, which suggests that age may not be the sole indicator for successful extubation,” the study authors wrote.
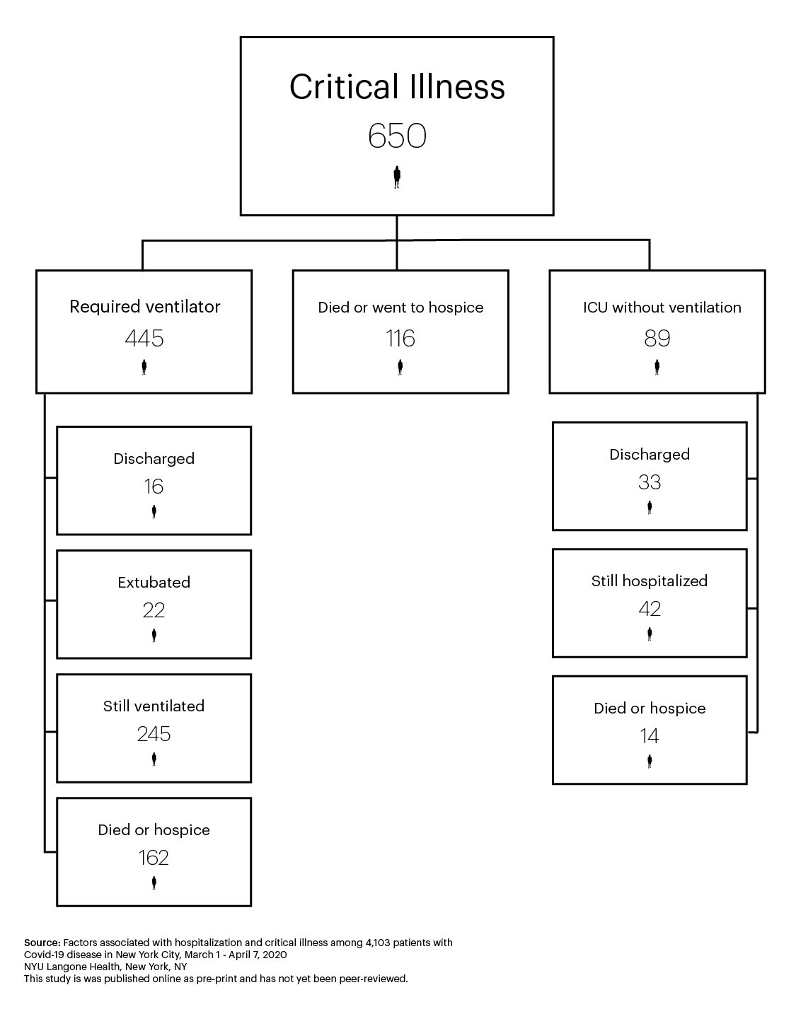
New York University Langone Health has also reported results from 4,103 coronavirus patients, of which nearly half were hospitalized and 445, or nearly 11%, needed a ventilator. The paper, which is available as a preprint — that means it hasn’t yet been peer-reviewed but has been posted online while it awaits journal publication — shows that among the patients who needed a ventilator, 16 were discharged at the time of publication, 22 were able to come off a ventilator but were still in the hospital, 162 had died or were in hospice and 245 — just over half — were still on a ventilator.

Cashier, the ICU nurse in California, acknowledged that fatality rates are high for patients sick enough to be on a ventilator, but she wanted the public to not be scared of the device itself.
“It’s a life-saving tool,” she said. “You’re not dying because we put you on a ventilator. You’re dying because you have COVID, and it’s a bad disease. We’re putting you on it because we want to give you the best chances.”
An ICU nurse in Colorado worries about the long-term impacts for patients who survive. “There will be thousands and thousands of people who probably remain on vents for the rest of their lives in care facilities,” she told me. She also worries about scarring in patients’ lungs after “weeks and weeks of inflammation caused by the virus.”
Talk to someone you trust to make your medical decisions.
If you’re reading this, worrying about what might happen to you if you catch the coronavirus, or you’re anxious for a loved one, such as a family member in a nursing facility or an essential worker who doesn’t have the option of hunkering down at home, I know it can be hard to not fixate on the worst-case scenario and remember that statistically, most people who get infected with the coronavirus don’t go down that path.
I reached out to Dr. Diane Meier, director of the Center to Advance Palliative Care, to ask her what advice she would have for the public at this time. Palliative care teams focus on providing relief from symptoms and improving quality of life for patients with serious illness, which can be done in conjunction with curative treatment. They often work with patients and their families to make decisions on what their goals are, including tackling questions like whether or not to be intubated.
“The bottom line is that for everybody who hasn’t done it, No. 1, everyone needs to figure out who we trust to make medical decisions on our behalf if we couldn’t make our own,” Meier said. One question to consider, she said, is what you would want if a doctor were to say you were sick enough to need intubation. There’s no “right answer” — these choices are personal.
“Some of my patients say to me: ‘I don’t care how poor my odds are, I want to fight and I want to try everything. I want a ventilator, I want critical care.’ And that is exactly what they will get. Others of my patients have said, ‘Doctor, if you think I’m in a situation where I’m unlikely to recover to be able to recognize and interact with my loved ones,’ then they don’t want it. And then there are some of my patients who say, ‘No, I would never want that, I saw my mother go through that, I don’t want that.’”
The key, Meier said, is to articulate your desires, so the person you’ve appointed to represent you knows how to make decisions on your behalf if you can’t.
Doctors, nurses and respiratory therapists are learning together how best to fight this virus. New data is coming out weekly as papers are posted online by researchers across the globe. I’m hoping that the patient outcomes statistics in this article will eventually look outdated, as protocols get refined and therapies improve. In the meantime, I’m grateful for all the medical workers who walk into work, day after day, to face so many unknowns.










